繁体中文  |  长者版  |  无障碍浏览  | 

蒙城县生态环境分局
当前位置: 网站首页 > 政府信息公开 > 蒙城县生态环境分局 > 权责清单和动态调整情况
索引号: 11341600MB1718575X/202602-00069 组配分类: 权责清单和动态调整情况
发布机构: 蒙城县生态环境分局 主题分类: 城乡建设、环境保护
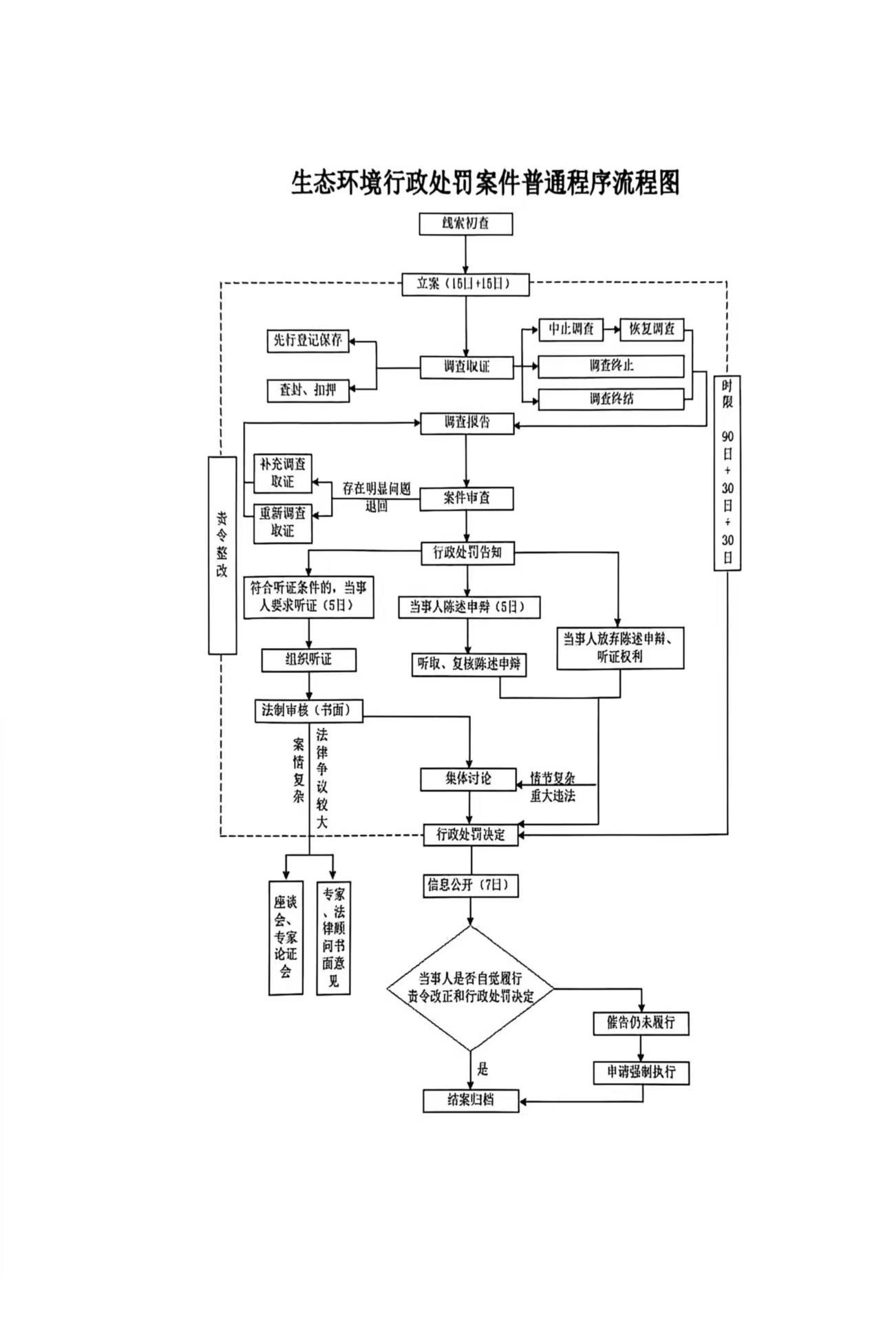
名称: 蒙城县生态环境分局行政处罚流程图 文号:
发文日期: 2026-02-27 发布日期: 2026-02-27
索引号: 11341600MB1718575X/202602-00069
组配分类: 权责清单和动态调整情况
发布机构: 蒙城县生态环境分局
主题分类: 城乡建设、环境保护
名称: 蒙城县生态环境分局行政处罚流程图
文号:
发文日期: 2026-02-27
发布日期: 2026-02-27
蒙城县生态环境分局行政处罚流程图
发布时间:2026-02-27 15:22 信息来源:蒙城县生态环境分局 浏览次数: 字体:[ ]